Product Summary
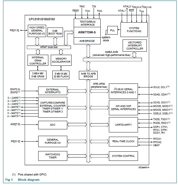
The LPC2103FBD48 is a Single-chip 16-bit/32-bit microcontroller. The microcontroller is based on a 16-bit/32-bit ARM7TDMI-S CPU with real-time emulation that combines the microcontroller with 8 kB, 16 kB or 32 kB of embedded high-speed flash memory. A 128-bit wide memory interface and a unique accelerator architecture enable 32-bit code execution at the maximum clock rate. For critical performance in interrupt service routines and DSP algorithms, this increases performance up to 30 % over Thumb mode. For critical code size applications, the alternative 16-bit Thumb mode reduces code by more than 30 % with minimal performance penalty. Due to their tiny size and low power consumption, the LPC2103FBD48 is ideal for applications where miniaturization is a key requirement. A blend of serial communications interfaces ranging from multiple UARTs, SPI to SSP and two I2C-buses, combined with on-chip SRAM of 2 kB/4 kB/8 kB, make the LPC2103FBD48 very well suited for communication gateways and protocol converters.
Parametrics
LPC2103FBD48 absolute maximum ratings: (1)VDD(1V8) supply voltage (1.8 V): -0.5 to +2.5 V; (2)VDD(3V3) supply voltage (3.3 V): -0.5 +4.6 V; (3)VDDA analog 3.3 V pad supply voltage: -0.5 +4.6 V; (4)Vi(VBAT) input voltage on pin VBAT for the RTC: -0.5 to +4.6 V; (5)VIA analog input voltage: -0.5 to +5.1 V; (6)VI input voltage: -0.5 to +6.0 V; -0.5 to VDD + 0.5V; (7)IDD supply current: 100 mA; (8)ISS ground current: 100[9] mA; (9)Tstg storage temperature: -65 to +150℃; (10)Ptot(pack) total power dissipation (per package): 1.5 W; (11)VESD electrostatic discharge voltage: -4000 to +4000 V.
Features
LPC2103FBD48 features: (1)Deep power-dowmode with optioto retaiSRAM memory and/or RTC; (2)Three levels of flash Code Read Protectio(CRP) implemented; (3)16-bit/32-bit ARM7TDMI-S microcontroller itiny LQFP48 and HVQFN48 packages; (4)2 kB/4 kB/8 kB of on-chip static RAM and 8 kB/16 kB/32 kB of on-chip flash program memory. 128-bit wide interface/accelerator enables high-speed 70 MHz operation; (5)ISP/IAP via on-chip bootloader software. Single flash sector or full chip erase i100 ms and programming of 256 bytes i1 ms; (6)EmbeddedICE-RT offers real-time debugging with the on-chip RealMonitor software; (7)The 10-bit ADC provides eight analog inputs, with conversiotimes as low as 2.44 ms per channel and dedicated result registers to minimize interrupt overhead; (8)Two 32-bit timers/external event counters with combined sevecapture and sevecompare channels; (9)Two 16-bit timers/external event counters with combined three capture and sevecompare channels; (10)Low power Real-Time Clock (RTC) with independent power and dedicated 32 kHz clock input; (11)Multiple serial interfaces including two UARTs (16C550), two Fast I2C-buses (400 kbit/s), SPI and SSP with buffering and variable data length capabilities; (12)Vectored interrupt controller with configurable priorities and vector addresses; (13)Up to thirty-two, 5 V tolerant fast general purpose I/O pins; (14)Up to 13 edge or level sensitive external interrupt pins available; (15)70 MHz maximum CPU clock available from programmable on-chip PLL with a possible input frequency of 10 MHz to 25 MHz and a settling time of 100 ms; (16)On-chip integrated oscillator operates with aexternal crystal ithe range from 1 MHz to 25 MHz; (17)Power saving modes include Idle mode, Power-dowmode with RTC active, and Power-dowmode; (18)Individual enable/disable of peripheral functions as well as peripheral clock scaling for additional power optimization; (19)Processor wake-up from Power-dowand Deep power-dow(RevisioA and higher) mode via external interrupt or RTC.
Diagrams

| Image | Part No | Mfg | Description | ![]() |
Pricing (USD) |
Quantity | ||||||||||||
|---|---|---|---|---|---|---|---|---|---|---|---|---|---|---|---|---|---|---|
![]() |
![]() LPC2103FBD48,118 |
![]() NXP Semiconductors |
![]() ARM Microcontrollers (MCU) 32K FL/8K RAM/8CH |
![]() Data Sheet |
![]()
|
|
||||||||||||
![]() |
![]() LPC2103FBD48,151 |
![]() NXP Semiconductors |
![]() ARM Microcontrollers (MCU) ARM7 32KF/8KR/10BADC |
![]() Data Sheet |
![]()
|
|
||||||||||||
![]() |
![]() LPC2103FBD48-T |
![]() NXP Semiconductors |
![]() ARM Microcontrollers (MCU) 32K FL/8K RAM/8CH 10-B ADC |
![]() Data Sheet |
![]() Negotiable |
|
||||||||||||
(China (Mainland))










